圣诺输液泵SN-1500HR、SN-1500H
更新时间:2022-11-02 15:07:02 浏览数:
所属类别:
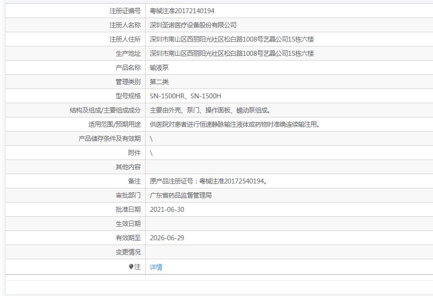
注射产品 注册证编号:粤械注准20172140194
采购电话:13524532503
采购方式:签约购买
采购价格:电议
SN-1500H 输液泵
· 更精巧:卧式结构,有效防止液体渗入泵体,可固定在输液架上,亦可平放于桌面输液
· 更:智能脉动补偿,实际输液流速风均匀,输液过程更舒适
· 更舒适:管路加热功能,舒适并确保精度
· 更安静:高品质电机驱动,振动小,噪音低
· 更:双CPU实时监控,性高
· 更体贴:泵内夜间照明,体贴的人性化设计
· 更方便:四种输液模式,使用方便

本公司全力支持关于《中华人民共和国广告法》实施的“极限 化违禁词”相关规定,且已竭力规避使用相关“违禁词”等极限化词汇。如果还有“极限化”违禁词用在本公司网页,本公司申明全部失效。所有访问本公司网页的人员均表示默认此条约,不支持任何发来“违禁词”为借口或理由投诉我公司 违反《中华人民共和国广告法》或《新广告法》来变相勒索索要 赔偿的违法恶意行为!如有疑问请及时联系本公司进行更改,感谢你的配合和支持,谢谢!